Home
Class 11
PHYSICS
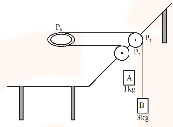
A smooth pulley P0 of mass 2 kg is lying...

A smooth pulley `P_0` of mass `2 kg` is lying on a smooth table. A light string passes round the pulley and has masses `1 kg` and `3 kg` attached to its ends. The two portions of the string being perpendicular to the edge of the table so that the masses hang vertically. Pulleys `P_1` and `P_2` are of negligible mass. [ `g=10m//s^2`]

Acceleration of block A is

A

`6 m//s^2`

B

`4 m//s^2`

C

`3 m//s^2`

D

`8 m//s^2`

लिखित उत्तर

Verified by Experts

The correct Answer is:
B
Promotional Banner